Roto Frank DST Vertriebs-GmbH

Roto EAZ 134/098 Rx221A12

Designo Eindeckr. Ziegel 

Artikelnummer: 566944Beleg-Artikelnummer: 2010025015Lieferantennummer: 594974Ausgabe: 1 Stück = ​ 83,090 kg = ​ 0,250 PAL​EAN: 4048001726891

Wahlweise in Aluminium, Kupfer, Titanzink vorbewittert oder Wunschfarbe nach RAL, Für alle Roto Designo Dachfenster-Typen geeignet, mit den in der folgenden Preistabelle aufgeführten Größen

Beschreibung
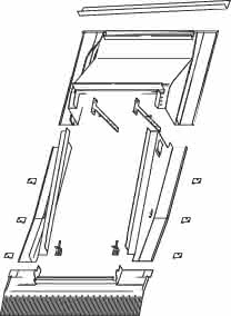
Beim Eindeckrahmen handelt es sich um ein cleveres Stecksystem, das gänzlich ohne außenliegende Verschraubungen auskommt ¿ und damit genauso schnell wie sicher vom Roto Partner montiert werden kann. Serienmäßig optimal auf die Anthrazit-Metallic-Lackierung von Roto Designo angepasst, ist der Eindeckrahmen auf Wunsch auch in Kupfer, Titanzink vorbewittert oder jeder RAL-Farbe erhältlich.
Spezifikationen
Artikeltyp Licht & Sicht
Anschlussprodukt
Ausführung Anschlussprodukte
Eindeckrahmen
Breite Fenstergröße/Blendrahmenmaß (cm)
134
Größenbezeichnung Licht & Sicht
13/09
Herstellerbezeichnung Anschlussprodukte
Kombi-Einbaurahmen
Länge Fenstergröße/Blendrahmenmaß (cm)
98
Marke
Roto
Material Anschlussprodukte
Aluminium
Modell
EAZ A
Serie
Designo
passend für
Ziegeleindeckung