Roto Frank DST Vertriebs-GmbH

Roto EAZ 094/078 Rx200

Designo Eindeckr. Ziegel 

Artikelnummer: 567005Beleg-Artikelnummer: 2010025070Lieferantennummer: 594988Ausgabe: 1 Stück = ​ 34,060 kg = ​ 0,026 PAL​EAN: 4048001727034

Wahlweise in Aluminium, Kupfer, Titanzink vorbewittert oder Wunschfarbe nach RAL, Für alle Roto Designo Dachfenster-Typen geeignet, mit den in der folgenden Preistabelle aufgeführten Größen

Beschreibung
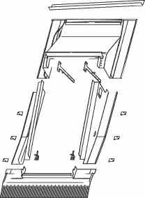
Beim Eindeckrahmen handelt es sich um ein cleveres Stecksystem, das gänzlich ohne außenliegende Verschraubungen auskommt ¿ und damit genauso schnell wie sicher vom Roto Partner montiert werden kann. Serienmäßig optimal auf die Anthrazit-Metallic-Lackierung von Roto Designo angepasst, ist der Eindeckrahmen auf Wunsch auch in Kupfer, Titanzink vorbewittert oder jeder RAL-Farbe erhältlich.
Spezifikationen
Artikeltyp Licht & Sicht
Anschlussprodukt
Ausführung Anschlussprodukte
Eindeckrahmen
Breite Fenstergröße/Blendrahmenmaß (cm)
94
Größenbezeichnung Licht & Sicht
9/7
Herstellerbezeichnung Anschlussprodukte
Einzeleinbaurahmen
Länge Fenstergröße/Blendrahmenmaß (cm)
78
Marke
Roto
Material Anschlussprodukte
Aluminium
Modell
EAZ
Serie
Designo
passend für
Ziegeleindeckung